

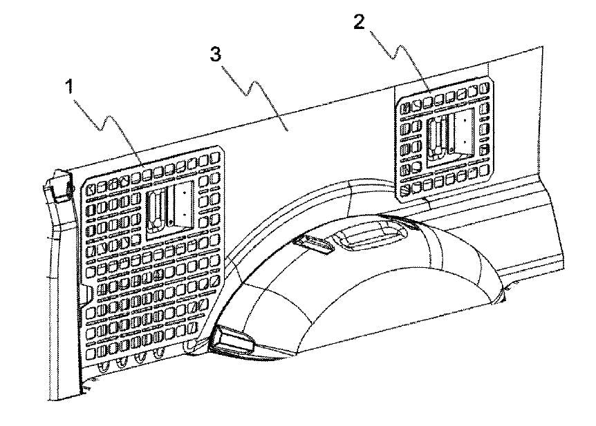
On March 2, 2021, BuiltRight Industries was granted a full, non-provisional utility patent for TRUCK BED ACCESSORY MOUNTING PANELS (US Patent No. 10,933,796 B2) with additional utility patents pending. The process of obtaining this patent began with a provisional application on September 22, 2017. Matt Beenen, founder of BuiltRight and inventor of the truck bed MOLLE panels category, created the system out of necessity as he used his F-150 to receive and deliver palletized freight when the business first started. He knew he had solved a common problem and pursued a broad utility patent immediately. Not long after entering the market, imitation products became available and shortly after inning the 2018 SEMA Launch Pad business competition, the widespread notoriety led to even more copycat products.
BuiltRight continued to develop similar products, knowing that in time, they would be protected by the utility patent. With the patent granted, we're slowly and methodically working through an enforcement strategy that includes a variety of business and legal solutions. Some infringing manufacturers will be offered an opportunity to license the invention.
When a business is built on spending time and resources developing unique and innovative products, a key part of continued success is protecting that investment. We've known that since day one and it's the reason we knew to file a patent application before we even had the revenue to pay the legal fees. Protecting our IP is a part of our long-term business strategy and we'll continue to invest heavily in that effort. We've chosen to work with an attorney who specializes in the automotive aftermarket and has a track record of successfully enforcing domestically and abroad.
All inquiries regarding BuiltRight patent and trademark enforcement and licensing should be directed directly to Jeffrey Banyas at Edwin A. Sisson in Medina, OH.

TRUCK BED ACCESSORY MOUNTING PANELS
Applicant: BuiltRight Industries LLC
Inventor: Matt Beenen
Assignee: BuiltRight Industries
Filed: Sep. 24, 2018
Provisional application No. 62/561,774, filed Sep. 22, 2017
Full text and figures: PATENT PDF
BuiltRight Industries Granted Utility Patent for Rear Seat Release Product Line - US Pat No. 11,400,854
SEMA 2022